beat365官方网站
联系我们
设为首页
加入收藏
学校首页
部门首页
学工动态
部门简介
通知公告
校团委
团委概况
思想引领
通知公告
团情快讯
实践育人
学生组织
社团阵地
规章制度
下载专区
规章制度
学工动态
学风建设
学生资助
心理健康
一站式学生服务
下载专区
校友工作
新闻动态
校友风采
业务流程
业务流程
部门首页
>
业务流程
>
正文
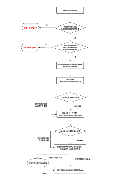
筑梦奖学金业务流程
发布日期:2025-10-11 浏览次数:
筑梦奖学金业务流程
上一篇
下一篇